A proposal for a new SSK
- Muirium
- µ
- Location: Edinburgh, Scotland
- Main keyboard: HHKB Type-S with Bluetooth by Hasu
- Main mouse: Apple Magic Mouse
- Favorite switch: Gotta Try 'Em All
- DT Pro Member: µ
Ping is the Model F's hallmark, it's true. Buckling spring was at its loudest right at the start; and yet the ancestor it was trying to emulate, beam spring, was nice and quiet in comparison.
I don't have an M2 of my own, but several people do around here so hopefully you'll get the answers you need.
Your plan to work with Unicomp is laudable, but they don't seem to be quite the most cooperative of keyboard manufacturers when it comes to the community. It might be wise to develop ideas that don't depend on them joining in the fun.
I don't have an M2 of my own, but several people do around here so hopefully you'll get the answers you need.
Your plan to work with Unicomp is laudable, but they don't seem to be quite the most cooperative of keyboard manufacturers when it comes to the community. It might be wise to develop ideas that don't depend on them joining in the fun.
- Daemon Raccoon
- Location: Flyover Country, United States
- Main keyboard: Model M SSK 1391472
- Main mouse: CST2545W-RC LTrac
- Favorite switch: Buckling Spring
- DT Pro Member: -
Lexmark took out a patent on an even lower profile buckling spring variant, but to my knowledge no prototypes were ever produced. Probably ditched the effort due to the complexity.
-
Findecanor
- Location: Stockholm, Sweden
- DT Pro Member: 0011
The barrels are shorter, as are the one-piece keys, but the springs and hammers are the same.M'er Forever wrote:Are the barrels shorter? If so, then the springs must be shorter (and perhaps smaller diameter) than the M's springs.
The big difference is that the keyboard has a flat backplane made of plastic, as opposed to a curved backplane made of steel.
I have been thinking of actually bolt-modding a M2.. with a metal backplate, but then the case wouldn't fit together.
BTW, the floss mod (done correctly) will remove the twang on a Model M or M2, leaving the click without any detriment to tactile feel.
- Muirium
- µ
- Location: Edinburgh, Scotland
- Main keyboard: HHKB Type-S with Bluetooth by Hasu
- Main mouse: Apple Magic Mouse
- Favorite switch: Gotta Try 'Em All
- DT Pro Member: µ
The same can be said for the entire numpad!
Caps Lock makes a great source to remap for your layer key. It lives in a prime spot. My favourite place to put actual caps lock is in a macro: press both Shift keys to toggle. Stays right out of the way, then, and it's still there when you need to get all shouty about serial numbers etc.
Caps Lock makes a great source to remap for your layer key. It lives in a prime spot. My favourite place to put actual caps lock is in a macro: press both Shift keys to toggle. Stays right out of the way, then, and it's still there when you need to get all shouty about serial numbers etc.
- Halvar
- Location: Baden, DE
- Main keyboard: IBM Model M SSK / Filco MT 2
- Favorite switch: Beam & buckling spring, Monterey, MX Brown
- DT Pro Member: 0051
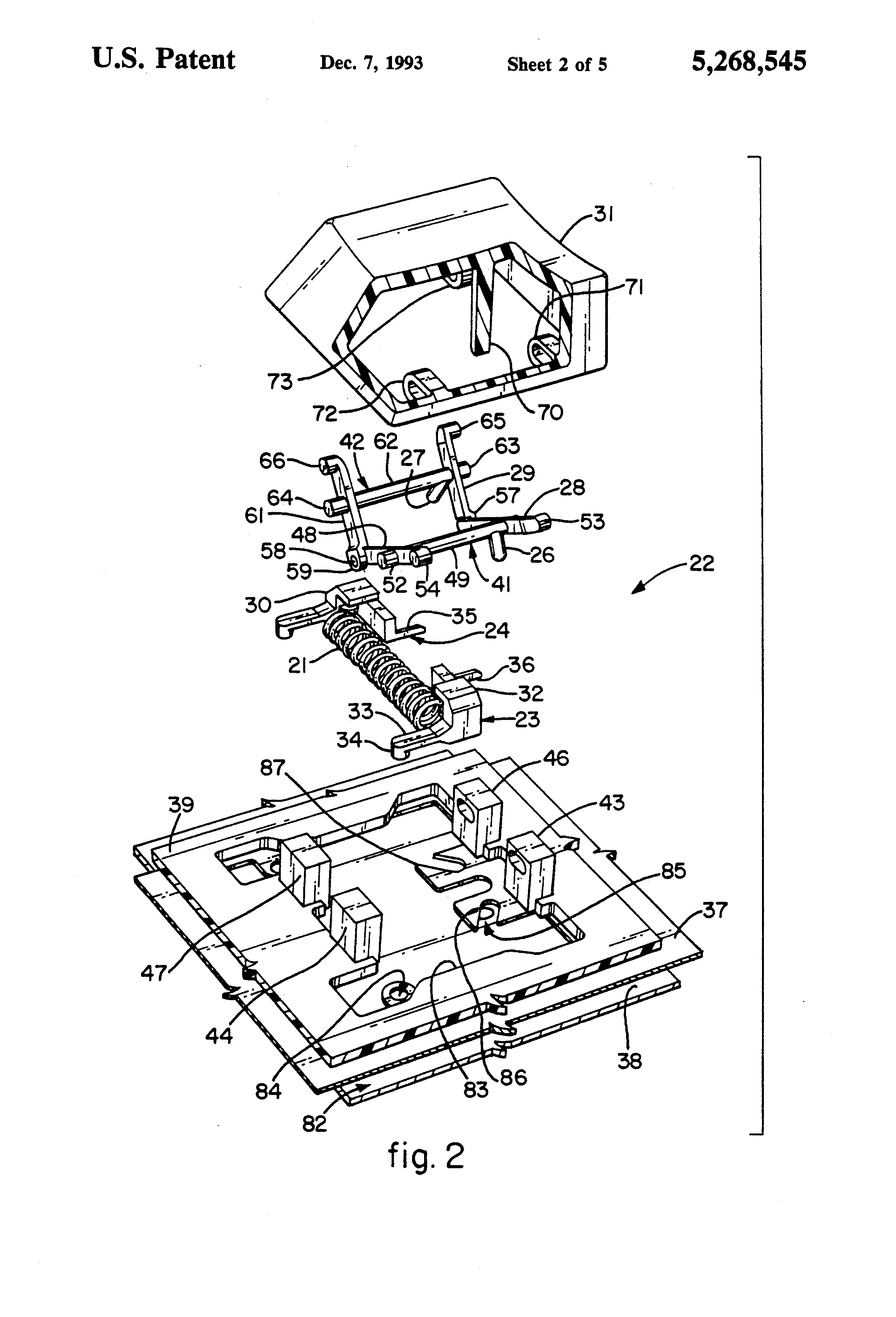
Quick & dirty pictures of the spring and a cap from Model M (left) vs. Model M2 (right).M'er Forever wrote: Very interesting, thanks Mu! Do you have a photo of the topside of that barrel frame? Are the barrels shorter? If so, then the springs must be shorter (and perhaps smaller diameter) than the M's springs. That might explain the difference in key feel and/or sound.
While the key is higher on the original Model M, the functional part of it (stem) has pretty much the same size, as has the spring.
- Attachments
-
- m_bird.jpg (159.23 KiB) Viewed 6586 times
-
- m_side.jpg (184.91 KiB) Viewed 6587 times
Last edited by Halvar on 04 Dec 2013, 00:56, edited 1 time in total.
- Broadmonkey
- Fancy Rank
- Location: Denmark
- Main keyboard: Whitefox
- Main mouse: Zowie FK2
- Favorite switch: MX Black
- DT Pro Member: -
- Contact:
So.. can you use an M2 key cap on a Model M keyboard? or does the stem not fit?
- Halvar
- Location: Baden, DE
- Main keyboard: IBM Model M SSK / Filco MT 2
- Favorite switch: Beam & buckling spring, Monterey, MX Brown
- DT Pro Member: 0051
I'll try it again when I'm at home. I know that you can use a Model M key on an M2 without problems, but IIRC it doesn't work the other way around because the stem of the M2 cap is too short (or the Model M barrel too long).
-
rodtang
- Location: Norway
- Main keyboard: Old rubberdome
- Main mouse: Logitech Performance MX
- DT Pro Member: -
It is a printed resistor, printed directly on the membrane.
download.microsoft.com/download/D/8/5/D85E2240-8688-4D49-BFD3-763E61A7D90E/AntiGhostingBrochure.pdf
I don't know the patent number, but I wouldn't be surprised if someone else here knew it.
EDIT: I think I found them:
https://www.google.com/patents/US20100066567
https://www.google.com/patents/US20100066572
download.microsoft.com/download/D/8/5/D85E2240-8688-4D49-BFD3-763E61A7D90E/AntiGhostingBrochure.pdf
I don't know the patent number, but I wouldn't be surprised if someone else here knew it.
EDIT: I think I found them:
https://www.google.com/patents/US20100066567
https://www.google.com/patents/US20100066572
- Daemon Raccoon
- Location: Flyover Country, United States
- Main keyboard: Model M SSK 1391472
- Main mouse: CST2545W-RC LTrac
- Favorite switch: Buckling Spring
- DT Pro Member: -
A resistor is not a diode.
- Daniel Beardsmore
- Location: Hertfordshire, England
- Main keyboard: Filco Majestouch 1 (home)/Poker II backlit (work)
- Main mouse: MS IMO 1.1
- Favorite switch: Probably not whatever I wrote here
- DT Pro Member: -
- Contact:
That's the whole point. You can't print diodes onto a membrane, but you can print resistors. I think essentially they're using bitwise maths with resistances to detect which combinations of keys are pressed. Pretty clever really, but that falls into my Senseless Over-engineering Over Nothing category, rather like the Oriental Tech OK-100M. A lot of research consumed for the sake of converting a lousy rubber dome into a lousy rubber dome.Daemon Raccoon wrote:A resistor is not a diode.
- Kurk
- Location: Sauce Hollondaise (=The Netherlands)
- Main keyboard: Kinesis Advantage // Filco MJ2 + HID liberation
- Main mouse: ITAC Mousetrak Professional
- DT Pro Member: 0027
I think you can, at least goole gives a lot of hits. Mostly on printed OLEDs but also on ordinary ones. Of course printing diodes is more involved than depositing a film of pourly conducting material.Daniel Beardsmore wrote:... You can't print diodes onto a membrane, but you can print resistors...
-
JBert
- Location: Belgium, land of Liberty Wafles and Freedom Fries
- Main keyboard: G80-3K with Clears
- Favorite switch: Capacitative BS
- DT Pro Member: 0049
Ehr no, it's converted to a lousy rubber dome with NKRO. And you could actually use the technique to make a NKRO model M, if you can print your own membrane.Daniel Beardsmore wrote:A lot of research consumed for the sake of converting a lousy rubber dome into a lousy rubber dome.
-
TacticalCoder
- Main keyboard: IBM Model M
- Main mouse: Masamune Shirow
- Favorite switch: Buckling springs
- DT Pro Member: -
- Contact:
Indeed. But not everyone does: for example on the amazing HHKB CTRL is where it was in the beginning of time (or was it?) and there's no physical key in the lower left corner of the keyboard (because it doesn't make much sense to go reach for a key there)...kyb wrote:Hmm, I ask myself why do people still add a Capslock key - even in brand new designs?
Of course the HHKB doesn't have any numpad either. I'm not saying the HHKB is perfect but at least it got these two things (ctrl where it should be and no numpad) very right.
But anyway it's no big deal: you can simply remaps caps-lock to act as the modifier you fancy the most there and simply not use modifiers which are poorly located (for example the ones preventing you from touch-typing correctly).
I like very much that new SSK. I'd love it with a detachable cable and in plastic / industrial color
-
Parak
- DT Pro Member: -
From my experience the 3d printed barrels are not of sufficient smoothness or precision. I've aimed to recreate the F switch design (as well as improve on it) for a while now, but the biggest barrier is getting the new parts injection molded, which requires quite precise measurements of existing barrels and flippies. In addition, the flippies need to be made out of hard and mildly conductive plastic in order for capsense to work properly. My ideal goal in this scenario is creating discrete F type barrels with captive flippies, similar to the Brother switch design, so that the assembly can be taken apart without the need to remove keycaps to avoid springs flying every whichway..
- wcass
- Location: Columbus, OH, USA
- Main keyboard: ibm model m
- Main mouse: kensington expert mouse
- Favorite switch: buckeling spring
- DT Pro Member: 0185
new model M flippies will not work for cap sense; they do not add capacitance the way that Model F flippies do. i believe that the F flippies are made of plastic with something mixed in with it to add capacitance (graphite maybe). We are also waiting on a capacitive controller (see first link below), but there are several very bright people working on that now that the Kishsaver has been found. Also a capacitive matrix (as IBM implemented it) is quirky in design (see third link). I have done some experimentation and design with both cap sensing and embedded diodes and can tell you that embedded diodes does work and is relatively inexpensive (see second link).
i would be happy to share whatever knowledge i have with you or anyone working to bring more buckling spring goodness to the world. i could use some 3D help making a case for my M-60 (second link).
design info on the capacitive switch PCB
http://deskthority.net/workshop-f7/brin ... t3047.html
M style switch but bottom membrane is a PCB with diodes. in this example, i am using 5x15 matrix, but i have also found 8 element diode arrays that would allow the more traditional 8xX matrix.
http://geekhack.org/index.php?topic=40111.0
capacitive switch matrix design info
http://geekhack.org/index.php?topic=51767.0
i would be happy to share whatever knowledge i have with you or anyone working to bring more buckling spring goodness to the world. i could use some 3D help making a case for my M-60 (second link).
design info on the capacitive switch PCB
http://deskthority.net/workshop-f7/brin ... t3047.html
M style switch but bottom membrane is a PCB with diodes. in this example, i am using 5x15 matrix, but i have also found 8 element diode arrays that would allow the more traditional 8xX matrix.
http://geekhack.org/index.php?topic=40111.0
capacitive switch matrix design info
http://geekhack.org/index.php?topic=51767.0
[Account and posts deleted on request]
- Attachments
-
- self-contained-buckling-spring-modules.jpg (870.32 KiB) Viewed 6397 times
Last edited by M'er Forever on 08 Dec 2013, 00:31, edited 1 time in total.
